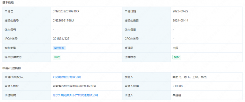
据能源圈了解到,企查查显示,阳光电源新获得一项实用新型专利授权,专利名为“储能系统手动维护开关插合检测装置和储能系统”,专利授权号为cn220961768u,授权日期为2024年5月14日。

专利摘要显示,本申请公开了一种储能系统手动维护开关插合检测装置,属于msd插合检测领域。所述手动维护开关插合检测装置,包括:检测开关,所述检测开关与手动维护开关之间联动连接;电池管理芯片,所述电池管理芯片经所述检测开关接地,所述电池管理芯片用于给所述检测开关提供基准电信号,且所述电池管理芯片用于基于所述检测开关的电信号判断所述手动维护开关的插合状态,所述插合状态包括可靠插合或未可靠插合。本申请的一种手动维护开关插合检测装置,能够有效检测手动维护开关是否可靠插合,提高了储能系统的安全性。
